Schattenwurf von Hochhäusern

Hochhäuser dürfen ihre Nachbarschaft insbesondere durch Schattenwurf nicht wesentlich beeinträchtigen. Auf dieser Seite finden Sie neben Hinweisen zur Konstruktion und Überprüfung des Schattenwurfs von Hochhäusern auch die neue Vollzugshilfe.

Zulässiger Schattenwurf

Hochhäuser sind laut dem Planungs- und Baugesetz (PBG) Bauten mit einer Gebäude- respektive Fassadenhöhe von mehr als 25 Metern. Deren Nachbarschaft darf nicht wesentlich beeinträchtigt werden, insbesondere nicht durch Schattenwurf in Wohnzonen oder gegenüber bewohnten Gebäuden. 

Maximal drei Stunden Schatten für bewohnte Gebäude

Die Allgemeine Bauverordnung (ABV) präzisiert, wann eine wesentliche Beeinträchtigung vorliegt. So dürfen bewohnte Gebäude oder bebaute sowie überbaubare Flächen in Wohnzonen an den mittleren Wintertagen nicht länger als drei Stunden beschattet werden. Die Beschattungsdauer ist grafisch mit einem sogenannten Schattendiagramm nachzuweisen. Keine wesentliche Beeinträchtigung liegt vor, wenn nachgewiesen werden kann, dass auch eine Überbauung in der Regelbauweise einen gleich grossen oder noch grösseren Schattenwurf generieren würde.

Hier finden Sie die wesentlichen Informationen zur Konstruktion und Überprüfung des Schattenwurfs – sowohl im Regelfall als auch in wesentlichen Sonderfällen. Ausführlichere Hinweise finden Sie in der Vollzugshilfe zur Bestimmung des Schattenwurfes von Hochhäusern.

Schattenwurf von Hochhäusern - Vollzugshilfe

Schattenwurf von Hochhäusern - Vollzugshilfe
Schattenwurf von Hochhäusern - Vollzugshilfe

Konstruktion im Regelfall

Das 3-Stunden-Schattendiagramm zeigt jenen Bereich auf, der während mindestens dreier Stunden an den mittleren Wintertagen (3. November und 8. Februar) beschattet wird. Das Diagramm lässt sich aus den einzelnen Schattenwürfen jeder vollen Stunde zwischen 8 und 17 Uhr generieren.

Die folgende Tabelle enthält den Sonnenwinkel gegenüber Norden (α) jeder zu berücksichtigenden Tagesstunde (8–17 Uhr). Die Länge des Schattens ergibt sich aus dem Höhenwinkel der Sonne (Altitude, Winkel β). Die Referenzzeit ist die Mitteleuropäische Zeit.

Datum
Uhrzeit
Sonnenwinkel gegenüber Norden (α)
Höhenwinkel (β)
03.11/08.02. 08:00 62.6 4.2
03.11/08.02. 09:00 50.6 12.4
03.11/08.02. 10:00 37.3 19.6
03.11/08.02. 11:00 22.7 24.4
03.11/08.02. 12:00 6.8 26.9
03.11/08.02. 13:00 -9.3 26.8
03.11/08.02. 14:00 -25.1 23.8
03.11/08.02. 15:00 -39.6 18.3
03.11/08.02. 16:00 -52.4 11.2
03.11/08.02. 17:00 -64.2 2.7

Anhand des Sonnenwinkels (α) und des Höhenwinkels (β) kann die Schattenlänge (L) sowohl grafisch wie auch mathematisch bestimmt werden.

Schattenlänge (L) = Gebäudehöhe (H) / Tangens β

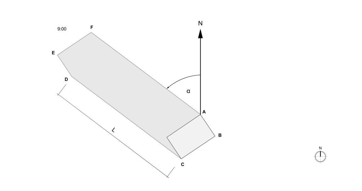
Um den Schattenwurf einer Tagesstunde zu ermitteln, wird von jeder Ecke des genordeten Grundrisses aus die Schattenlänge (L) im Sonnenwinkel (α) eingezeichnet. Der Schattenwurf ergibt sich durch das Verbinden der äusseren Punkte (ABCDEF) der eingetragenen Linien.

Diagramm, welches die Konstruktion des 9-Uhr-Schattens zeigt
Konstruktion des 9-Uhr-Schattens, Abtragung der Schattenlänge (L) im Sonnenwinkel gegenüber Norden (α)

Diese Schritte werden für jede Stunde von 8 bis 17 Uhr wiederholt. Es resultieren insgesamt zehn Schattenbilder, wobei der erste Schatten im Westen und der letzte Schatten im Osten zu liegen kommt.

Diagramm, welches die Schattenbilder für alle zu berücksichtigenden Tagesstunden von 08 bis 17 Uhr zeigt
Schattenbilder für alle zu berücksichtigenden Tagesstunden (8-17 Uhr)

Für die Ermittlung des 3-Stunden-Schattens werden anschliessend die Schnittpunkte der einzelnen Schatten in 3-Stunden-Intervallen bestimmt, also die Schnittpunkte der Schatten um 8 Uhr und um 11 Uhr (A), um 9 Uhr und um 12 Uhr (B) usw. Danach werden die ermittelten Schnittpunkte miteinander verbunden. Anfang- und Endpunkt der entstehenden Linie werden mit den äussersten Punkten des Grundrisses verbunden (ABCDEFG). Es resultiert das gesuchte 3-Stunden-Schattendiagramm.

Diagramm, welches das konstruierte Schattendiagramm zeigt
Das gesuchte Schattendiagramm ergibt sich durch das Verbinden der Schnittpunkte der jeweils drei Stunden auseinanderliegenden Schatten.

Überprüfung des Regelfalls

Das resultierende Schattendiagramm zeigt jene Fläche, die länger als drei Stunden beschattet wird. Diese Fläche entspricht somit dem Abstand, der gegenüber bewohnten Gebäuden oder bebaubaren Flächen in Wohnzonen einzuhalten ist. 

Falls das 3-Stunden-Schattendiagramm nicht auf eine benachbarte Parzelle oder Baute trifft, kann das Projekt unter diesem Aspekt bewilligt werden.

Diagramm, welches ein 3-Stunden-Schattendiagramm zeigt, das nicht auf eine benachbarte Parzelle oder Baute trifft.
Das 3-Stunden-Schattendiagramm trifft nicht auf eine benachbarte Parzelle oder Baute. Das Projekt kann bewilligt werden.

Falls bewohnte Gebäude oder bebaubare Flächen in Wohnzonen innerhalb des Schattendiagramms zu liegen kommen, werden sie länger als 3 Stunden beschattet. Das projektierte Hochhaus ist in solchen Fällen nur unter bestimmten Voraussetzungen bewilligungsfähig.

Diagramm, welches ein 3-Stunden-Schattendiagramm zeigt, das auf eine benachbarte Parzelle oder Baute trifft.
Das 3-Stunden-Schattendiagramm trifft auf eine benachbarte Parzelle und Baute. Das Projekt ist nur unter bestimmten Voraussetzungen bewilligungsfähig.

Wesentliche Sonderfälle

Verwenden Sie die Akkordeon-Bedienelemente, um die Sichtbarkeit der jeweiligen Panels (unterhalb der Bedienelemente) umzuschalten.

Laut ABV liegt keine wesentliche Beeinträchtigung durch Schattenwurf vor, wenn mit einem in allen Teilen den Vorschriften entsprechenden kubischen Vergleichsprojekt nachgewiesen wird, dass eine der Bau- und Zonenordnung entsprechende Überbauung keine geringere Beschattung des Nachbargrundstückes nach sich zieht.

Das kubische Vergleichsprojekt basiert auf den für die Parzelle geltenden planungs- und baurechtlichen Grundlagen. In der Regel besitzt es als Grundfläche alle bebaubaren Bereiche einer Parzelle sowie die maximal erlaubte Höhe der Baute. Das Schattendiagramm des kubischen Vergleichsprojekts wird analog zu jenem des Hochhauses konstruiert.

Das Diagramm zeigt das 3-Stunden-Schattendiagramm des kubischen Vergleichsprojekts
Das 3-Stunden-Schattendiagramm des kubischen Vergleichsprojekts wird anhand der geltenden planungsrechtlichen Bestimmungen analog zum Schattendiagramm des Hochhauses konstruiert.

Anschliessend wird das 3-Stunden-Schattendiagramm des kubischen Vergleichsprojekts  mit jenem des Hochhauses verglichen. Dazu werden beide Schattendiagramme überlagert. 

Keine zusätzliche Beeinträchtigung durch das projektierte Hochhaus liegt vor, wenn dessen Schattendiagramm innerhalb jenes des kubischen Vergleichsprojekts zu liegen kommt. Das Projekt ist somit bewilligungsfähig.

Das Diagramm zeigt das 3-Stunden-Schattendiagramm eines bewilligungsfähigen Hochhauses im Vergleich zum Schattendiagramm des kubischen Vergleichsprojekts.
Das 3-Stunden-Schattendiagramm des geplanten Hochhauses trifft zwar auf eine Nachbarparzelle und Baute, liegt aber innerhalb des 3-Stunden-Schattendiagramms des kubischen Vergleichsprojekts. Es kann daher bewilligt werden.

Eine im Vergleich zur Regelbauweise zusätzliche Beeinträchtigung liegt jedoch in jenen Teilen vor, in welchen das Schattendiagramm des Hochhauses über jenes des kubischen Vergleichsprojekts hinausragt. In einem solchen Fall sind die Abstandsregelungen des Hochhausschattens zu berücksichtigen.

Das Diagramm zeigt das 3-Stunden-Schattendiagramm eines nicht bewilligungsfähigen Hochhauses im Vergleich zum Schattendiagramm des kubischen Vergleichsprojekts.
Das 3-Stunden-Schattendiagramm des geplanten Hochhauses trifft auf eine Nachbarparzelle und Baute und überragt teilweise das 3-Stunden-Schattendiagramm des kubischen Vergleichsprojekts. Es sind die Abstandsregelungen des Hochhausschattens zu berücksichtigen.

Laut der ABV sind in Wohnzonen nur die überbaubaren Flächen auf eine übermässige Beschattung zu prüfen. Demzufolge dürfen jene Flächen, die aufgrund von gesetzlichen Abstandsregeln, Baulinien und dergleichen nicht überbaut werden dürfen, auch länger als drei Stunden beschattet werden.

Diagramm, welches eine 3-Stunden-Schattendiagramm zeigt,  das in den bebaubaren Bereich einer benachbarten Parzelle fällt.
Das 3-Stunden-Schattendiagramm fällt in den bebaubaren Bereich einer benachbarten Parzelle. Das Projekt ist nur dann bewilligungsfähig, wenn das Vergleichsprojekt in Regelbauweise einen grösseren Schatten werfen würde.

Im Regelfall erfolgt der Nachweis des Schattenverlaufs im Grundriss. Die ABV besagt entsprechend, dass der Schattenwurf auf bewohnte Nachbarbauten «in der Regel an ihrem Fusspunkt» gemessen wird. Es ist aber durchaus möglich, dass ein benachbartes Gebäude nur in einem oberen Geschoss eine Wohnnutzung aufweist (beispielsweise Wohnnutzung oberhalb einer gewerblichen Nutzung). In solchen Fällen kann zur Beurteilung anhand eines dreidimensionalen Modells nachgewiesen werden, welche Abschnitte der Fassade durch den Schattenwurf übermässig stark betroffen sind. Wenn die benachbarte Wohnnutzung nicht länger als 3 Stunden beschattet wird, kann das Hochhausprojekt eventuell bewilligt werden.

Diagramm, welches den zu berücksichtigender Ort der Schattenprojektion zeigt.
Eine dreidimensionale Überprüfung zeigt, dass die benachbarte Wohnnutzung (blau) vom 3-Stunden-Schattendiagramm nicht tangiert wird, sondern nur die industriell genutzte Shedhalle. Das Projekt kann daher bewilligt werden.

Die beschriebene Konstruktionsmethode des Schattendiagramms basiert auf der Annahme eines sich nach oben weder verjüngenden noch ausweitenden Hochhauses. Es wird somit von einem einfachen, quaderförmigen Volumen ausgegangen. Je nach projektiertem Hochhaus ist dies nicht ausreichend. Bei sich nach oben vergrössernden Bauten resultiert in der Regel ein zu kleines, bei sich nach oben verjüngenden Bauten ein zu grosses Schattendiagramm. In solchen Fällen ist es daher angebracht, die genaue Volumetrie zu berücksichtigen.

Die Schattenwurfregelung setzt ab einer Höhe von 25 Metern an. Bis zu dieser Höhe müssen auch Hochhäuser den Mehrhöhenzuschlag berücksichtigen. Bestandteile eines Hochhausprojekts wie Sockelbauten oder dergleichen, die nicht höher als 25 Meter sind, müssen daher bei der Ermittlung des Schattendiagramms nicht berücksichtigt werden.

Diagramm, welches zeigt, dass die Gebäudevolumetrie eines projektierten Hochhauses mitunter Einfluss auf Schattenwurf und Schattendiagramm hat.
Die Volumetrie des projektierten Hochhauses hat mitunter Einfluss auf Schattenwurf und Schattendiagramm. Bei sich nach oben vergrössernden Bauten (links) resultiert in der Regel ein zu kleines, bei sich nach oben verjüngenden Bauten (rechts) ein zu grosses Schattendiagramm.

Bei der beschriebenen Konstruktionsmethode wird das Terrain nicht berücksichtigt. Vielmehr wird davon ausgegangen, dass das Hochhaus auf einer ebenen Fläche zu liegen kommt. Je nach Situation sollte die Topografie der unmittelbaren Umgebung berücksichtigt werden. Fällt der Schatten bergseitig auf eine Hanglage, verkürzt sich der einzuhaltende Abstand. Fällt der Schatten hingegen talseitig, verlängert sich der einzuhaltende Abstand. Falls das Terrain berücksichtigt werden soll, kann dies grafisch mittels Schnittzeichnungen durch die Topografie entlang jeder Schattenlinie oder anhand eines dreidimensionalen Modells erfolgen.

Diagramm, welches den Einfluss der Topographie zeigt. Die Schattenlänge eines Hochhauses mit gleicher Höhe wird bei hangseitiger Lage kürzer und bei talseitiger Lage länger.
Schematische Darstellung des Einflusses der Topographie: Die Schattenlänge eines Hochhauses mit gleicher Höhe wird bei hangseitiger Lage kürzer und bei talseitiger Lage länger.

Weiterführende Informationen

Verwenden Sie die Akkordeon-Bedienelemente, um die Sichtbarkeit der jeweiligen Panels (unterhalb der Bedienelemente) umzuschalten.

Kontakt

Amt für Raumentwicklung

Adresse

Stampfenbachstrasse 12
8090 Zürich
Route (Google)
Adresse wurde kopiert Adresse konnte nicht kopiert werden


 

Für dieses Thema zuständig: